Reservdelar

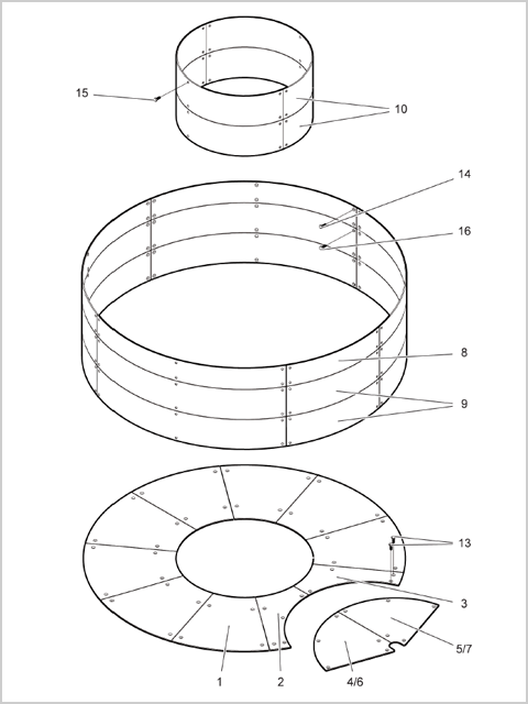
Sprängskisserna visar maskinens uppbyggnad enligt modulerna A-kar, B-skydd osv....

Klicka på respektive modul för att hitta detaljerna ni söker till er maskin.

Finns delarna ni söker till er maskin inte med, kontakta oss för mer information!